G45J直流式襯膠隔膜閥專用于控制非腐蝕性或一般腐蝕性介質,閥體內腔表面無襯里或覆有可供選擇的各種橡膠,適用于不同工作溫度和流體管路。
適用溫度:≤85℃、≤100℃、 ≤120℃(按照襯里和隔膜材料)
壓力等級:PN0.6、1.0、1.6
當前隔膜閥廣泛地應用于城建、化工、冶金、石油、制藥、食品、飲料、環保中。
閥體:鑄鐵、球墨鑄鐵、碳鋼、不銹鋼
閥蓋:鑄鐵、球墨鑄鐵、碳鋼、不銹鋼
襯里:無襯里、橡膠
隔膜:橡膠
閥瓣:鑄鐵、碳鋼
閥桿:碳鋼、不銹鋼手輪:鑄鐵
襯里層:電火花檢測
試驗與檢驗按GB/T13297標準
公稱壓力:PN(Mpa)
閥體:PN×1.5
密封:PN×1.1
隔膜閥是一種特殊形式的截止閥;

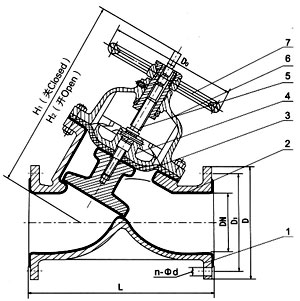
部件列表: 1、閥體 2、閥體襯里 3、隔膜 4、閥瓣 5、閥桿 6、閥蓋 7、手輪 設計與制造:GB122239
結構長度:GB12221、JB1688
法蘭連接尺寸:GB4216、JB78
| DN mm |
公稱壓力 MPa |
工作壓力 MPa |
L (mm) |
D (mm) |
D1 (mm) |
n-φd (mm) |
F (mm) |
H1 (mm) |
H2 (mm) |
D0 (mm) |
質量 |
|---|---|---|---|---|---|---|---|---|---|---|---|
| 25 | 0.6 | 0.6 | 145 | 115 | 85 | 4-14 | 2 | 178 | 190 | 120 | |
| 32 | 160 | 140 | 100 | 4-18 | 2 | 196 | 217 | 140 | |||
| 40 | 180 | 150 | 110 | 4-18 | 3 | 196 | 217 | 140 | 14 | ||
| 50 | 210 | 165 | 125 | 4-18 | 3 | 219 | 240 | 200 | 20 | ||
| 65 | 250 | 185 | 145 | 4-18 | 3 | 264 | 272 | 200 | 29 | ||
| 80 | 300 | 200 | 160 | 4-18 | 3 | 285 | 315 | 280 | 42 | ||
| 100 | 350 | 220 | 180 | 8-18 | 3 | 352 | 383 | 320 | 61 | ||
| 125 | 400 | 250 | 210 | 8-18 | 3 | 470 | 515 | 320 | 79.5 | ||
| 150 | 0.4 | 460 | 285 | 240 | 8-22 | 3 | 508 | 554 | 400 | 150 | |
| 200 | 570 | 340 | 295 | 8-22 | 4 | 602 | 660 | 500 | 236.5 | ||
| 250 | 680 | 395 | 350 | 12-22 | 4 | 708 | 786 | 500 | |||
| 300 | 790 | 445 | 400 | 12-22 | 4 |
溫馨提示:
本文中所有文字、數據、圖片均只適用于參考。需要查看更多的G45J直流式襯膠隔膜閥性能參數、結構尺寸參數、價格等詳情,或要求印刷樣本,請聯系我們。
主營產品:氣動調節閥 - 電動調節閥 - 自力式調節閥
版版權所有 © 上海大田閥門管道工程有限公司
地址:上海市浦東新區川宏路528號宏圖大樓5樓
