您現在所在位置:大田閥門 >> 襯氟閥門(襯里閥門)
設計與制造:GB12236
結構長度:GB12221
法蘭連接尺寸:GB4216
H44Fs旋啟式襯氟塑料止回閥專用于控制強腐蝕性介質,閥體內腔表面覆有可供選擇的各種氟塑料,具有強度高、耐腐蝕性能好的特點。適用于不同工作溫度和流體管路,防止各類管路或設備上的介質逆流的單向啟閉。
適用溫度:≤85℃、≤100℃、≤120℃、≤150℃、(可按照襯里材料)
壓力等級:0.6、1.0、1.6
襯里層:電火花檢測
實驗與檢驗按GB/T13927標準
公稱壓力:PN閥體:PN×1.5 密封:PN×1.1
上閥體:鑄鐵、球墨鑄鐵、碳鋼 下閥體:鑄鐵、球墨鑄鐵、碳鋼 襯里:氟塑料
閥瓣:碳鋼完全包覆氟塑料
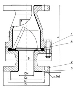
1、上閥體、2、下閥體3、閥體襯里4、閥瓣

| 公稱通徑 | 公稱壓力 | 工作壓力 | L | D | D1 | D2 | n-Фd | B | 質量 |
|---|---|---|---|---|---|---|---|---|---|
| 20 | 1.0 | 1.0 | 160 | 105 | 75 | 59 | 4-14 | 128 | |
| 25 | 160 | 115 | 85 | 68 | 4-14 | 128 | |||
| 32 | 180 | 140 | 100 | 78 | 4-18 | 150 | 4.5 | ||
| 40 | 200 | 150 | 110 | 88 | 4-18 | 160 | 7 | ||
| 50 | 230 | 165 | 125 | 102 | 4-18 | 178 | 8 | ||
| 65 | 290 | 185 | 145 | 122 | 4-18 | 205 | 10 | ||
| 80 | 310 | 200 | 160 | 133 | 8-18 | 230 | 18 | ||
| 100 | 350 | 220 | 180 | 158 | 8-18 | 255 | 24 | ||
| 125 | 400 | 250 | 210 | 184 | 8-18 | 305 | 30.5 | ||
| 150 | 480 | 285 | 240 | 212 | 8-22 | 345 | 47.5 | ||
| 200 | 500 | 340 | 295 | 268 | 8-22 | 415 | 63.5 | ||
| 250 | 0.6 | 0.6 | 550 | 395 | 350 | 320 | 12-22 | 495 | 96.5 |
| 300 | 0.4 | 620 | 445 | 400 | 370 | 12-22 | 540 | 14 | |
| 350 | 698 | 505 | 460 | 430 | 16-22 | 620 | 244 | ||
| 400 | 787 | 565 | 515 | 482 | 16-22 | 680 |
溫馨提示:
本文中所有文字、數據、圖片均只適用于參考。需要查看更多的H44Fs旋啟式襯氟塑料止回閥性能參數、結構尺寸參數、價格等詳情,或要求印刷樣本,請聯系我們。